|
+7-978-708-85-73 Дроссель Amadeus Productions. Быстрый заказ по телефону. (Viber, WhatsApp, Telegram) |
3.5.2013, 20:39
Сообщение
#1
|
|||
|
Технический Маньяк-Гуру ![]() ![]() ![]() ![]() ![]() ![]() ![]() Группа: Технический Маньяк Сообщений: 1248 Регистрация: 24.3.2009 Из: Санкт-Петербург Вне форума Авто: Mitsubishi Outlander 3 Репутация: 25
|
Давно у меня перестали в люстре гореть диоды. Их 60 шт., все синего цвета. Наконец-то люстру удалось снять. Далее начал разбираться...
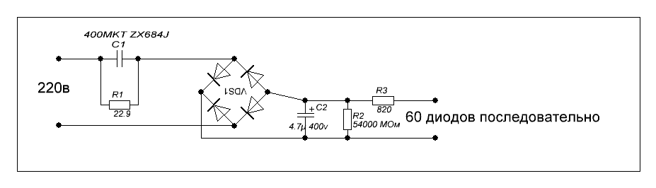
Схема блока питания для диодов (маркировка кондёров списана с них же, резюков - подобрана здесь http://www.chipdip.ru/info/rescalc/): На фото этот блок выглядит так: Вопросы: - Я правильно понимаю, что для проверки компонентов необходимо выпаять их? - Насколько можно доверять показаниям тестера, приобретённого за 6$ на eBay? - Как проверить кондёры? Один полярный, другой нет. - Правильно ли я расшифровал номиналы резюков? |
||
|
|||
Ghost Ремонт люстры 3.5.2013, 20:39
SSh 54000 МОм - это круто
Проверить можно и не выпаив... 3.5.2013, 20:48
Ghost SSh, а то, что я получаю 318 при установке на 2000... 3.5.2013, 20:57
SSh Конденсатор по постоянному току обладает бесконечн... 3.5.2013, 21:17
Ghost Понял, буду прогонять по диодам блоками по 4 штуки... 3.5.2013, 21:25
SSh Прозвонщиком тестера светодиоды не проверишь, разв... 3.5.2013, 21:39
Ghost как раз светятся по лёгкому, даже при дневном свет... 3.5.2013, 21:41
Ghost SSh, бальшой тебе челавеческий спасиба!!... 3.5.2013, 22:34
DmitryVS Цитата(Ghost @ 3.5.2013, 23:34) SSh, баль... 4.5.2013, 16:02
SSh RE: Ремонт люстры 3.5.2013, 23:07![]() ![]() ![]() |
|
+7-978-708-85-73 Дроссель Amadeus Productions. Быстрый заказ по телефону. (Viber, WhatsApp, Telegram) |
| Текстовая версия | © 2006-2026 Форум Технических Маньяков. |
|
|